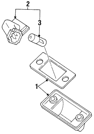
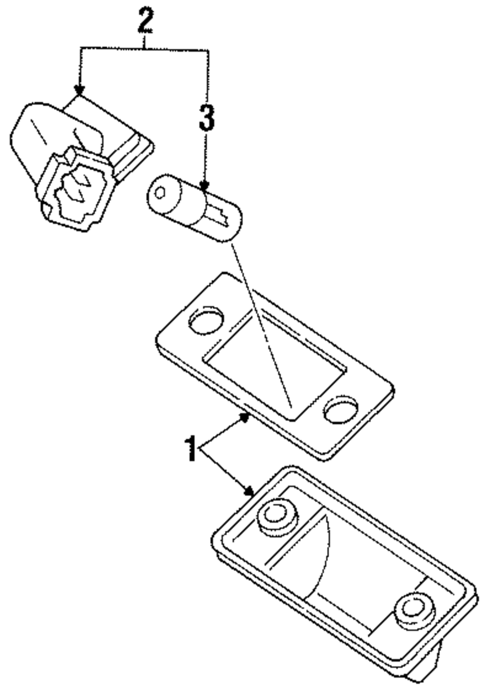
Lens & Gasket - Volkswagen (1HM-943-119-A)
1993-1999 Volkswagen Golf - 1hm943119a
Also Purchased
Vehicle Fitment
Select your vehicle Browse Catalog
Shop Volkswagen Auto Parts
Searching for somewhere you can trust purchasing genuine parts and accessories for your Volkswagen online? You've come to the right place!
Easily get your Lens & Gasket (1hm943119a) for your 1993-1999 Volkswagen Golf vehicle delivered to your home at an affordable price.
Shop Volkswagen Auto Parts is your go-to online retailer for original Volkswagen parts and accessories. You can use the VIN lookup feature to find parts that will match your vehicle. Have questions about a part? Contact us today!
Shop more VW parts by selecting your model here.
Volkswagen
OEM Volkswagen Parts and Accessories
